

| 型号 | AM40B(交流侧) | AM40-1000(直流侧) |
| 标称工作电压Un | 380V | |
| 最大持续工作电压Uc | 385V | 1000VDC |
| 标称放电电流(In 8/20μs) | 20kA | |
| 最大放电电流(Imax 8/20μs) | 40kA | |
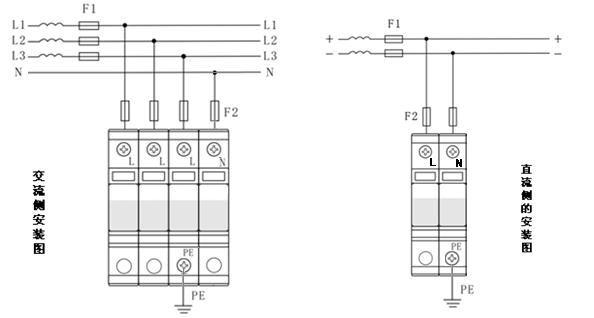
| 保护模式 | L1、L2、L3-N,N-PE | L、N-PE |
| 保护水平Up | 1.2kV(N-PE); 1.8kV(L-N) | 3600V |
| 最大后备保护熔断器 | 63A (gL/gG) | |
| 响应时间 | ≤25ns | |
| 遥信端子(选配) | COM公共点 、NO常开 、 NC常闭 | |
| 外形尺寸 | 90×62×71(mm) | 90×62×35(mm) |
| 最小安装导线截面积 | L/N:2.5mm²,PE:6mm² | |
| 防护等级 | IP20 | |
| 安装方式 | 35 mm DIN-rail | |
| 工作环境 | 环境温度:-40℃~+85℃; 相对湿度:≤95%(25℃) | |

